Chaine d'arrimage avec Tendeur Ø 8 mm
Kit arrimage conforme CE EN 12195
- Chaine de diamètre 8 mm
- Choix de la longueur de chaine
- Livré avec certificat de contrôle et plaque d'identification
- LC 40 kN : capacité d’arrimage maximale de 4 000 Kg
Chaine arrimage avec tendeur : composition
- 1 Tendeur arrimage à cliquet Grade 80 Norme En 12195-3
2 Crochets Raccourcisseur à œil Norme EN1677 - 1 Chaine G80 équipée de 2 crochet à linguet à chape
- Longueur = longueur de la chaine dans votre chois
Stripe
Selon choix du transporteur
04 77 29 21 82
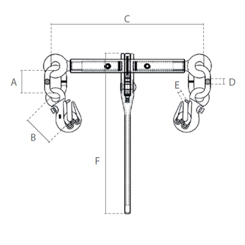
| chaine | TMU (Kg) | STF (kN) | Poids(Kg) | A | B | C | D | E | F |
|---|---|---|---|---|---|---|---|---|---|
| 8 | 4 000 | 10 | 4.8 | 47 | 71 | 340-500 | 12 | 9 | 383 |
| 10 | 6 300 | 15.75 | 5.5 | 47 | 79 | 375-530 | 14 | 12 | 383 |
| 13 | 10 000 | 15.9 | 8 | 71 | 106 | 365-520 | 20 | 16 | 385 |
Caractéristiques
- Equipement arrimage
- Tendeur à cliquet
